中国、全面的にデジタル化された電子発票の試験実施に関する公告他

中国JBS‐中国税務および投資速報(日本語要約版)2022年9月

税務法規

1. 電子発票(インボイスの電子化)

「国家税務総局海南省税務局 全面的にデジタル化された電子発票の試験実施に関する公告」(国家税務総局海南省税務局公告2022年4号)

・「国家税務総局天津市税務局 全面的にデジタル化された電子発票の試験実施に関する公告」(国家税務総局天津市税務局公告2022年5号)

概要

2021年3月、国務院弁公庁、中国共産党中央弁公庁は、「租税徴収管理改革のさらなる深化に関する意見」を公布し、デジタル化を背景としたスマート税務行政の実現に向けた青写真を示しました。

これを受け、上海市、広東省、内蒙古自治区の税務機関は、それぞれ2021年 11月30日付で公告を公布し、上海市、広東省(深圳市を除く)、及び内蒙古自治区において、一部の納税者を対象に、2021年12月1日より全面的にデジタル化された電子発票(以下、「全電発票」)の試験実施(以下、「試験」)を展開することを表明しました。

試験展開の初期においては、特定の試験地区における試験納税者(以下、「試験納税者」)は、当市・当省の納税者のみに対して全電発票を発行することができました。試験の持続的な展開に伴い、試験納税者(発票の発行者側)の範囲は現段階では他の省市には拡大されていないものの、徐々に全電発票の受領側の範囲はより多くの省市に拡大されています。2022年8月19日に、国家税務総局海南省税務局、国家税務総局天津市税務局及び複数の省・市の税務機関はそれぞれ公告を公布し、2022年8月28日より、その管轄内の納税者は発票受領者として、試験納税者が電子発票サービスプラットフォームを通じて発行した全電発票を受け取ることになる旨を公表しました。これは、2022年8月28日より全国レベルで、納税者は発票受領者として全電発票の受け取りが可能になったことを意味しています。

詳細は次の図をご参照ください。

図1

(注1)試験開始初期においては、試験納税者は当市・当省の一部の納税者のみに全電発票を発行できました。試験の推進に伴い、発票受領者の範囲は当市・当省の管轄内の納税者に徐々に拡大されました。

(注2)同時に、上海市、広東省、内蒙古自治区の税務機関が2022年 6月に公布した公告(国家税務総局上海市税務局公告2022年2号、国家税務総局広東省税務局公告2022年3号、国家税務総局内蒙古自治区税務局公告2022年5号)により、2022年6月21日より、1つの試験地区の納税者は他の2つの試験地区の試験納税者が発行した全電発票を受領することができます(例えば、上海市の納税者は、内蒙古自治区と広東省の試験納税者が発行した全電発票を受け取ることができます)。
 

納税者は、試験範囲のさらなる拡大及び税務機関の金税四期システムのオンライン化に伴い、実務上の問題や潜在的な税収リスクに直面する可能性が高くなる点に留意する必要があります。そのため、自社の税務ヘルスチェックを実施することは、納税者の日常的な発票発行及び財務プロセスに存在する可能性のあるリスク項目の把握・整理に資すると考えられます。例えば、発票のシステムを納税管理設備から電子発票サービスプラットフォームへ移行する納税者などは、特に留意が必要と考えられます。

関連する規定の全文は下記リンクをご参照ください。

国家税務総局海南省税務局 2022年4号公告
hainan.chinatax.gov.cn/xxgk_6_1/19141913.html
 

2. 納付猶予

・「中小零細製造業企業の一部税金費用の納付猶予の継続執行に関する公告」(国家税務総局、財政部公告2022年17号)

概要

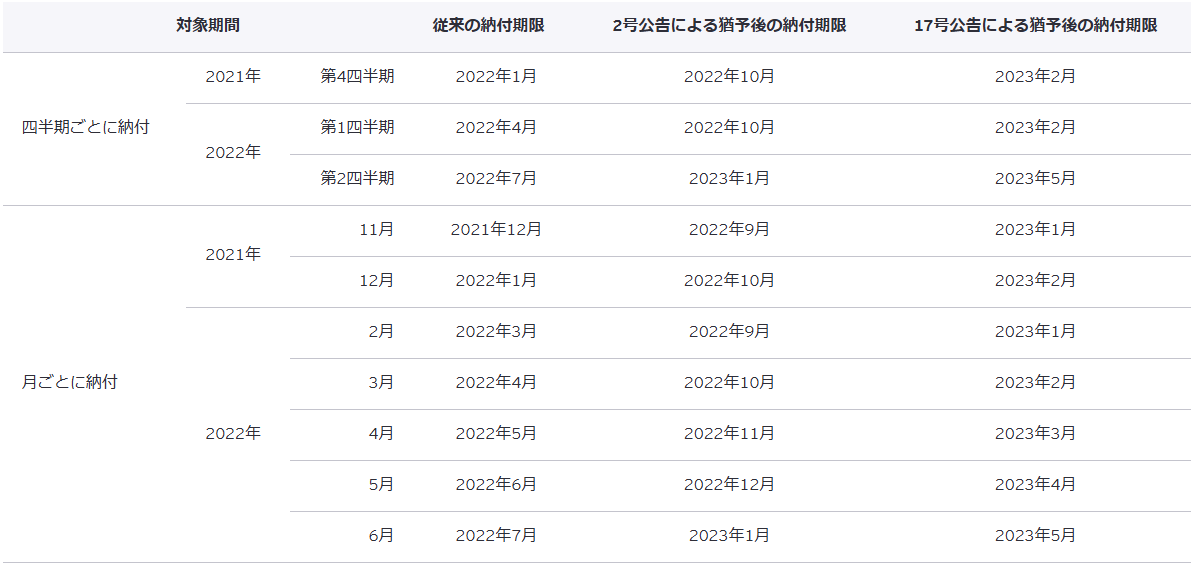
従前より、国家税務総局、財政部公告2022年2号、「製造業中小零細企業の一部税金費用の納付猶予の継続実施に関する公告」(以下、「2号公告」)の規定に基づき、条件を満たす中小零細製造業企業(注3)の一部の税金費用(注4)に対し、2021年第4四半期と2022年第1四半期、第2四半期において、50%または100%の納付猶予が適用されています。

中小零細製造業企業の発展をさらに支援するため、財政部及び国家税務総局は2022年9月14日に、国家税務総局、財政部公告2022年17号(以下、「17号公告」)を公布し、条件を満たす中小零細製造業企業の一部税金費用に対し、納付猶予が引き続き適用されます。

2号公告と17号公告の主な内容は下表の通りです。

表1

17号公告は2022年9月1日より適用されます。

(注3) 小規模零細製造業企業とは、年間売上高が2,000万人民元未満であり、かつ製造業に従事する企業を指します。中規模製造業企業とは、年間売上高が2,000万元以上かつ4億元未満であり、かつ製造業に従事する企業を指します。条件を満たす企業には個人経営者、
個人独資企業及びパートナー企業も含まれます。

(注4)この税金費用には、企業所得税、個人所得税(源泉徴収、代理徴収されるものを除く)、国内増値税、国内消費税(税関輸出入段階で徴収される税金費用を除く)及び都市維持
建設税、教育費付加、地方教育付加が含まれます。

17号公告の全文は下記リンクをご参照ください。
www.chinatax.gov.cn/chinatax/n810341/n810825/c101434/c5181400/content.html

 

お問い合わせ先

北京

西本 靖司/監査

上村 希世子/税務・移転価格

河村 正一/監査

中尾 隆志/税務


大連

駒田 亮 / 監査


上海

高橋 臣一/監査

坂出 加奈/税務・移転価格

入倉 広大/監査

川島 智之/税務

西澤 礼/監査

小島 圭介/税務

星野 友子/監査

万 家駿/法務

高谷 恭平/監査

三宅 亜紀子/Forensics

江 海峰/金融

久保田 順一/TAS

北原 遼一/金融


広州

長内 幸浩/監査

梁 晔/監査


深圳

浅井 哲史/監査


香港

重富 由香/監査

櫻庭 弘幸/監査

濱﨑 孝陽/監査

浦野 克紀/監査(金融)


東京
EY税理士法人 中国デスク

呉 篠


EY新日本有限責任監査法人/Ernst & Young ShinNihon LLC

JBSアシュアランスデスク/JBS Assurance Desk

野口 正邦

八幡 正博

大谷 光尋

近藤 正智